Behncke QWT 100 Wärmetauscher 46 kW
Haben Sie Fragen zu diesem Produkt?
Gern beraten wir Sie in einem persönlichem Gespräch.
Behncke QWT 100 Wärmetauscher - Effiziente Poolbeheizung mit Ihrer Heizungsanlage
Mit dem Behncke QWT 100 Wärmetauscher heizen Sie Ihr Schwimmbadwasser zuverlässig und energiesparend - durch Nutzung bestehender Heizquellen wie Gastherme, Ölkessel oder Wärmepumpe. So genießen Sie längere Badesaisons, warmes Wasser nach Wunsch und reduzieren Ihre Energiekosten - mit bester deutscher Qualität und korrosionsfestem Edelstahl.
Vorteile
- Effiziente Wärmeübertragung durch Rohrbündeltechnik im Gegenstromprinzip
- Einsatzbereit für Süßwasserpools (nicht salzwassertauglich), beständiger V4A Edelstahl (1.4571 / AISI 316 TI)
- Extrem hohe Heizleistung - bis zu 304 kW je nach Modell und Vorlauftemperatur
- Flexible Einbindung: horizontale und vertikale Installation möglich
- Unabhängig vom Heizungssystem, kein direkter Eingriff in die Hausinstallation nötig
- Lieferung inklusive Halterung, Gummischlauch-Set und Tauchhülse für Temperaturfühler
Material
Der Behncke QWT 100 wird vollständig aus Edelstahl V4A (AISI 316 TI / 1.4571) gefertigt - das sorgt für Langlebigkeit, Korrosionsbeständigkeit und eine hohe Betriebssicherheit im Poolbetrieb. Die gebeizte und lackierte Oberfläche schützt zusätzlich.
Anwendung
Perfekt für private und gewerbliche Pools: Der QWT 100 eignet sich um Ihr Beckenwasser effizient mit bestehenden Heizsystemen zu erwärmen.
Typische Anwendungen:
- Koppelung mit Öl-/Gasheizung, Fernwärme oder Wärmepumpe
- Ideal für Becken ab etwa 20 m³ bis große Anlagen
- Unkomplizierte Nachrüstung: Einbau über Bypass, Steuerung z. B. über Poolthermostat
Maximale Betriebssicherheit durch getrennte Kreisläufe und leistungsfähige Technik
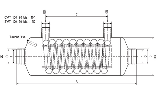
Technische Daten
| Merkmale | A (mm) | B (Ø) | C (mm) | D (DN) | E (Zoll) | F (Zoll) |
|---|---|---|---|---|---|---|
| Betriebsdruck: Heizung 10 bar, Badebecken 3 bar. Angaben können je nach Modell leicht variieren. | ||||||
| QWT 100-2 | 275 | 125 | 90 | DN 40 | 1 1/2" | 3/4" |
| QWT 100-30 | 315 | 125 | 135 | DN 40 | 1 1/2" | 3/4" |
| QWT 100-40 | 385 | 125 | 205 | DN 40 | 1 1/2" | 3/4" |
| QWT 100-70 | 520 | 190 | 295 | DN 40 | 1 1/2" | 3/4" |
| QWT 100-104 | 660 | 190 | 430 | DN 50 | 2" | 1" |
| QWT 100-140 | 920 | 190 | 295 | DN 50 | 2" | 1" |
| QWT 100-209 | 1190 | 190 | 430 | DN 50 | 2" | 1" |
Fragen & Antworten zu Behncke QWT 100 Wärmetauscher
- Ist der QWT 100 salzwassertauglich?
Nein, durch den Einsatz von V4A-Edelstahl eignet sich der Wärmetauscher ausschließlich für Süßwasserpools. Für Salzwasser empfiehlt sich eine Titan-Ausführung. - Wie lange dauert die Montage?
Der Einbau durch den Fachbetrieb ist in ca. 1-2 Stunden möglich, sofern alle Anschlüsse vorhanden sind und die Hydraulik vorbereitet ist. - Brauche ich einen Fachbetrieb für die Installation?
Ja, der Anschluss an Heizkreislauf und Poolhydraulik sollte ausschließlich durch qualifiziertes Personal erfolgen - dies gewährleistet Sicherheit und Betriebsgarantie. - Wie hoch ist die Heizleistung?
Abhängig vom Modell und der Vorlauftemperatur (z. B. bis 304 kW bei 90 °C), siehe technische Daten. - Gibt es einen integrierten Temperaturfühler?
Eine Tauchhülse zur Aufnahme eines externen Temperaturfühlers ist serienmäßig enthalten. - Welche Mindestpumpenleistung wird benötigt?
Für das Modell QWT 100-40 sind zum Beispiel auf der Heizungsseite 2 m³/h und auf Poolseite 10 m³/h empfohlen; bei anderen Modellen variieren die Werte entsprechend. - Wird der Wärmetauscher vor Auslieferung geprüft?
Ja, alle Behncke Wärmetauscher werden werkseitig einer Druckprüfung unterzogen und sind ‚Made in Germany‘. - Wie ist der Wärmetauscher im Kreislauf zu montieren?
Vorzugweise im Bypass, idealerweise leicht zugänglich für spätere Wartung und Entkalkung. - Welche Wartung ist erforderlich?
Regelmäßige Sichtkontrolle und ggf. Entkalkung bei hartem Wasser; der Primärkreis sollte vor Inbetriebnahme gespült werden. - Wie wird vor Frost geschützt?
Bei Außenmontage die Primärseite im Winter entleeren oder mit Frostschutzmittel befüllen. Poolseite nach Herstellerangaben sichern.
Jetzt den Behncke QWT 100 Wärmetauscher bestellen und Ihr Poolerlebnis unabhängig von der Außentemperatur verlängern!
BEHNCKE GmbH
Friedrich-Bergius-Straße 19
85662 Hohenbrunn
www.behncke.com
Sicherheitstechnische Angaben in der Bedienungsanleitung und Anleitungsblättern, die dem Schwimmbecken beigefügt sind.
Vor dem Bau und der Benutzung des Schwimmbeckens müssen sämtliche Informationen in der Betriebsanleitung sorgfältig gelesen und verstanden werden. Warnhinweise, Anleitungen und Sicherheitsrichtlinien umfassen einige allgemeine Risiken in Bezug auf Freizeitbeschäftigung im Wasser, sie können jedoch nicht sämtliche Risiken und Gefährdungen in allen Fällen behandeln. Bei jeglicher Aktivität im Wasser wird Vorsicht, gesunder Menschenverstand und gutes Urteilsvermögen walten gelassen. Diese Angaben und Anleitungen müssen für die spätere Nutzung aufbewahrt werden.
Sicherheit von Nichtschwimmern:
• Es ist jederzeit eine ständige, aktive und wachsame Beaufsichtigung schwacher Schwimmer und Nichtschwimmer durch eine sachkundige erwachsene Aufsichtsperson erforderlich (es wird daran erinnert, dass das größte Risiko des Ertrinkens bei Kindern unter 5 Jahren besteht).
• Es wird eine sachkundige erwachsene Person bestimmt, die das Becken überwacht, wenn es benutzt wird.
• Schwache Schwimmer oder Nichtschwimmer sollten persönliche Schutzausrüstung tragen, wenn sie ins Schwimmbecken gehen.
• Wenn das Schwimmbecken nicht benutzt oder überwacht wird, werden sämtliche Spielsachen aus dem Schwimmbecken und seiner Umgebung entfernt, um zu verhindern, dass Kinder davon angezogen werden.
Sicherheitsvorrichtungen:
• Es wird empfohlen, eine Absperrung zu errichten (und sämtliche Türen und Fenster zu sichern, sofern zutreffend), um unberechtigten Zutritt zum Schwimmbecken zu vermeiden.
• Absperrungen, Beckenabdeckungen, Alarmanlagen oder ähnliche Sicherheitsvorrichtungen sind sinnvolle Hilfsmittel, ersetzen jedoch keine ständige und sachkundige Überwachung durch erwachsene Personen.
Sicherheitsausrüstung:
• Es wird empfohlen, Rettungsausrüstung (z. B. einen Rettungsring, Sanikasten) in der Nähe des Beckensaufzubewahren.
• Ein funktionierendes Telefon und eine Liste von Notrufnummern werden in der Nähe des Schwimmbeckens aufbewahrt.
Sichere Nutzung des Schwimmbeckens:
• Sämtliche Nutzer, insbesondere Kinder, werden dazu ermuntert, schwimmen zu lernen.
• Jeder der ein Schwimmbecken benutzt soll Erste Hilfe Maßnahmen (Herz-Lungen-Wiederbelebung) erlernen und diese Kenntnisse regelmäßig auffrischen. Das kann bei einem Notfall einen lebensrettenden Unterschied ausmachen.
• Sämtliche Beckenbenutzer, einschließlich Kinder, anweisen, was in einem Notfall zu tun ist.
• Niemals in flaches Wasser springen. Das kann zu schweren Verletzungen oder zum Tode führen.
• Das Schwimmbecken nicht benutzen, wenn man unter dem Einfluss von Alkohol, Drogen, Betäubungsmitteln, Medikamenten oder anderen Substanzen steht, welche die Fähigkeit zur sicheren Nutzung des Beckens beeinträchtigen können.
• Beckenabdeckungen vor dem Betreten des Schwimmbeckens vollständig von der Wasseroberfläche entfernen, wenn sie verwendet werden.
• Die Nutzer des Schwimmbeckens werden vor durch das Wasser verbreiteten Krankheiten geschützt, indem das Wasser stets aufbereitet und hygienisch unbedenklich gehalten wird. Die Richtlinien zur Wasseraufbereitung in der Gebrauchsanleitung werden zu Rate gezogen und eingehalten.
• Chemikalien (z. B. Produkte für die Wasseraufbereitung, Reinigung oder Desinfektion) außerhalb der Reichweite von Kindern aufbewahren.
• Abnehmbare Leitern sind auf einer waagerechten Fläche anzuordnen.
• Die nachstehenden nachstehenden Sicherheitszeichen müssen verwendet werden:
| Die Zeichen (in Bild B.1a und Bild B.1.b) sind an einer gut sichtbaren Stelle innerhalb von 2 m in der Nähe des Schwimmbeckens anzubringen. |
![]() ![]() |
| Es wird empfohlen, das Zeichen (in Bild B.2) an einer gut sichtbaren Stelle innerhalb von 2 m in der Nähe des Schwimmbeckens anzubringen. |
![]() |


